目次
ずっしり重い中身を、しっかり守る
クラフト紙は丈夫な繊維が絡み合うことで高い強度を持つ紙で、包装や保存の用途に幅広く使用されています。“クラフト重袋”はそのクラフト紙をさらに重ね合わせて製造されるため、落下等の衝撃が加わった際に破損することが少ないというメリットがあります。

| 工業用 | 鉱山物(パーライト、砕石、珪砂、土、道路補強材等)、 石灰、ベントナイト、モルタル等 |
| 農水産物 | 米袋、馬鈴薯種芋袋、西瓜袋、大豆袋、冷凍魚袋、そば袋等、柿袋、鮑、ほたて貝柱、椎茸、白菜(帯) |
| 食品類 | パン粉、弁当、脱脂糠、麩等 |
| 肥料・飼料 | 配合飼料、混合飼料、、各種肥料等 |
| 化学薬品 | 消石灰、炭酸カルシウム、カーボン、動物向け薬等 |
| その他 | ごみ、石炭、木炭、切炭、漢方薬、衣料、反物、瓦、長靴、燃料、発送・梱包等 |
重袋向けクラフト袋の特徴
- 重包装向けの紙を使用しているので、裂けにくく丈夫な紙です
- 重ねて置いてもスペースをとりすぎない
- 折りたたみやすく、手を痛めにくい
- クラフト=ナチュラル感があり、どのようなシーンにも使用可能
- 紙素材なので廃棄しやすい
- 袋の使用後は、その他保存袋やごみ袋としての転用ができます。
- 通気性が良く、食品の保管にも使用できます
- 直射日光からの影響を受けにくい、内容物の色あせがしにくいです
- 紐やテープ等の付属品を付けて持ち運びしやすくすることもできます
- 直接マジックペン等で文字を書いても裏移りしにくい紙です
- 環境型素材として、紙素材の製品は近年、再注目されています
- (家具が丸ごと入るような)大きな袋にも対応しています
- ヒダ部分を大きくすると、段ケースの代用としても利用できます
内容物によって異なる、最適な袋の形状
片ミシン袋 ヒダ付き

特徴
紙をチューブ状にして、底をミシン掛けしたもの。
ヒダ付タイプは、内容物が多めに入りやすく、開封口を広く開けることができ、袋自体が立ちやすくなります。
多くの内容物に対応できる形状。
パレット載せにも荷が安定して載せやすいです。
封方法:ミシ掛け、テープ貼り、クラフトバンド
使用場面
農産物、水産物、食品、ごみ袋
空気穴をあけて・・・
農産物の保管、乾燥に
最内袋にポリを入れて・・・
水分があるものにも対応
☆平袋タイプ又はガゼット付きタイプ

標準胴幅及びヒダ寸法表(のり代30mm)
ヒダ幅寸法(mm)
| 原紙 | 折径 | 60 | 75 | 100 | 120 | 140 |
| 470 | 220 | |||||
| 590 | 280 | 220 | ||||
| 690 | 330 | 270 | 225 | |||
| 900 | 435 | 375 | 360 | |||
| 1010 | 490 | 430 | 415 | 390 | 370 | |
| 1110 | 540 | 480 | 465 | 440 | 420 | 400 |
| 1200 | 510 | 485 | 465 | 445 | ||
| 1400 | 545 |
特殊サイズ
1620巾
1840巾
正面巾
415
500
×
×
×
ヒダ
375
400
×
×
×
高さ
508〜1041
508〜1041
*正面巾、ヒダのサイズはほぼ固定になります。高さはある程度融通が利きます。
1~3層まで共通
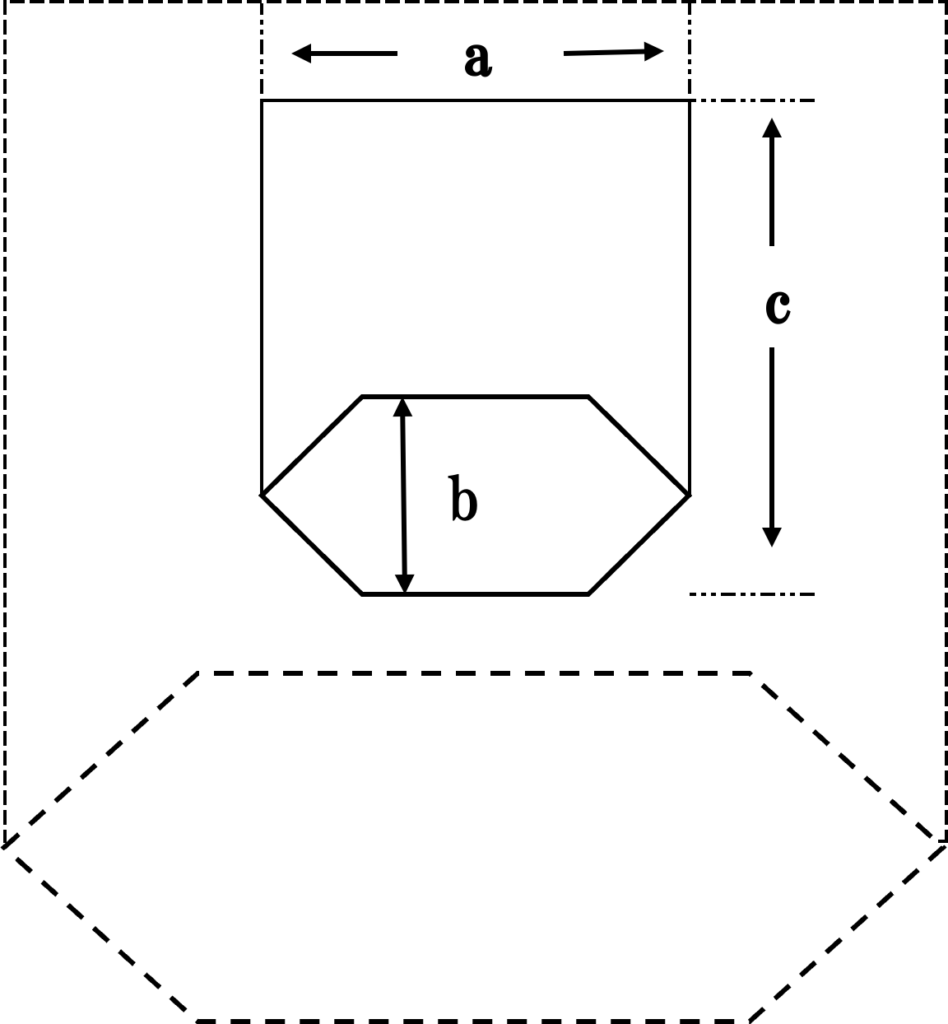
<平袋タイプ>ヒダ(=C)なしタイプ
正面巾 a
高さ b
220~545mm
444~1040mm
<ガゼット袋タイプ>ヒダ(=C)ありタイプ
正面巾 a
高さ b
ヒダ c
360~545mm
444~1040mm
75~140mm
4層タイプ
<平袋タイプ>ヒダ(=C)なしタイプ
正面巾 a
高さ b
490mm
444~1040mm
<ガゼット袋タイプ>ヒダ(=C)ありタイプ
正面巾 a
高さ b
ヒダ c
415mm
444~1040mm
75mm
寸法表より大きいサイズの袋、小さいサイズの袋も手加工対応にて製造することができます。
片ミシン袋 ヒダなし

特徴
紙をチューブ状にして、底をミシン掛けしたもの。
ヒダなしタイプは、コンパクトに使用するシーンにおすすめです。袋詰め前の袋も小さめに保管できます。
ミシン目のおかげでほどよい空気抜けが荷積みの際、荷を安定させます。
多くの内容物に対応できる形状。
封方法:ミシ掛け、テープ貼り、クラフトバンド
使用場面
農産物、水産物、食品、ごみ袋
空気穴をあけて・・・
農産物の保管、乾燥に
最内袋にポリを入れて・・・
水分があるものにも対応
両ミシン袋(弁付)

特徴
バルブ機を使用して内容物を詰めたり、ミシンかけやテープを使わずとも簡易的に封することができます。
封方法:附属されている弁を使用
使用場面
工業用
舟底袋

特徴
底形状が亀の甲羅のような形
開口部が角底より広めで内容物を入れやすい。底部分の安定感があり、小さいものから長いものを梱包するにも適しています。
段ケースの内袋としての利用もできます。
小分け用としての使用も可。
封方法:クラフトバンド、両面テープ、ガムテープ、ミシン掛け
使用場面
農業用・工業用・一般
内容物のサンプルを送るにも適している。

機械製造時の可能サイズ
◎正面巾 a
1,2層袋
3層袋
220~685mm
250~635mm
◎底巾 b 1~3層袋すべて共通
Min
Max
60mm
正面巾 a-30mm程度
◎高さ c
Min
Max
350mm
1100mm
*袋の開口状態図

この部分を内側に折り込むと
角底袋仕様の形状にもできます。
参考までに、30K米袋のサイズは・・・

角底袋

特徴
底の形状が四角になっている袋
立てて商品を見せる時等に適しています
段ケースの内袋としての利用もできます。
小分け用としての使用も可。
封方法:クラフトバンド、両面テープ、ガムテープ、ミシン掛け
使用場面
イージー袋

特徴
カットテープがついており、開封しやすく、粉漏れしにくい袋です。
使用場面
工業用・食品用
両底貼袋

特徴
袋の両側が舟形の舟底袋同様の形状になっており、細かい粉物を入れるに適しています。
使用場面
工業用・食品用
封筒型

特徴
内容物
平判のものを数枚保管したりする時におすすめです。
横入れにも縦入れにも対応できます。
使用場面
一般
筒型(チューブ)

特徴
筒用になっているので、お好みの位置で内容物を包むことができます。
長い棒状のものや簡易に梱包をしたい時にお勧めです。
使用場面
一般
紙袋+段シート

特徴
袋の底部分になるところに段シートを使用。手で持ち運びするに安定。
使用場面
一般
平判

特徴
用途に合わせてたサイズのカットができます。
長いものを包んだり、段ケースの底に敷いたり、カバーや物を引き上げる補助紙といても利用できます。
使用場面
包装紙・梱包

原紙巾 a
長さ b
原紙の種類
原紙の厚さ
150〜1620mm
200〜4800mm
クラフト、特殊紙(ラミネート、ラミパワー等)
*特殊紙の詳細についてはお問合せ下さい
50g/㎡~200g/㎡
原紙持ち込みにてのカット加工のみも承ります。
参考までに・・・ 一般サイズ
四六判 798×1091mm

ハトロン判 900×1200mm

小巻
特徴
ご自分の利用シーンに合わせて、使用する分だけをカットしながら使うことができます。
使用場面
包装紙・梱包
*クラフト紙などを巻いた製品

原紙巾 a
巻きm数
原紙の種類
原紙の厚さ
150〜1620mm
15〜50m
クラフト、特殊紙(ラミネート、ラミパワー等)
*特殊紙の詳細についてはお問合せ下さい
50g/㎡~200g/㎡
原紙持ち込みにてのカット加工のみも承ります。

